
Boeing has won a patent for a protective force field that could stop vehicles from being harmed by explosions, Popular Science reports.
It might sound futuristic — and it is. The patent isn’t about stopping bullets or lasers or anything like that, though. Instead, it detects explosions near a vehicle, and then quickly heats up the air or water between the vehicle and the blast. The heat creates a plasma shield that is more dense than normal air, adding to the vehicle’s protection.
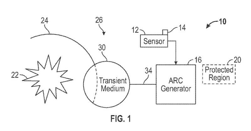
This diagram from Boeing shows the different parts of the force-field system:

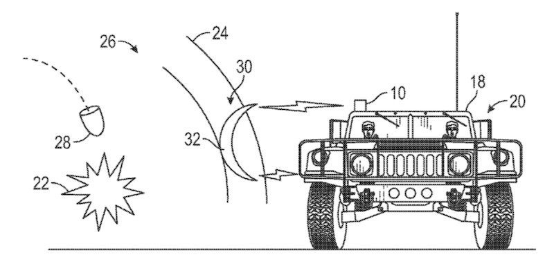
Boeing’s patent application shows how the force-field technology could work with a military vehicle:

The above diagram shows a military Humvee with a device that can lessen the impact of explosions from bombs like improvised explosive devices (IEDs).
But there could be other uses for Boeing’s force-field technology. Boeing notes that it can be used in water as well as air, heating up the area around boats or submarines to lessen damage from explosions.
Here’s Boeing’s full patent filing:
Method and system for shockwave attenuation via electromagnetic arc by Michael Janitch
More from Business Insider:
- Former ISIS fighter explains why he joined the terror army — and why he left after just 3 days
- Israeli spy Jonathan Pollard granted parole, will be released in November
- It’s been 20 years since the Srebrenica massacre, one of the most horrific atrocities since World War II
- This stunning combat art reveals what aerial warfare was like during World War II
- Hilary Clinton: Here’s the ‘principle threat’ ISIS poses to the US
This article originally appeared at Business Insider Defense. Copyright 2015. Follow BI Defense on Twitter.